
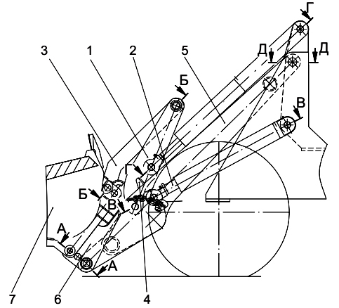
1. Коромысло, 2. Упор, 3. Тяга, 4. Упор. 5. Стрела, 6. Адаптер, 7. Ковш


|
№ поз.
|
Каталожный номер
|
Наименование детали
|
Фото
|
|
1
|
320.44.01.000-Б
|
стрела
|
|
|
2
|
320.44.10.000
|
коромысло
|
|
|
3
|
320.44.20.000-Б
|
тяга
|
|
|
4
|
320.44.35.000
|
упор
|
|
|
5
|
320.44.40.000-Б
|
Адаптер
|
|
|
13
|
320.44.00.001
|
Шайба
|
|
|
14
|
320.44.00.002
|
Палец
|
|
|
15
|
320.44.00.002-01
|
Палец
|
|
|
16
|
320.44.00.004-Б
|
Палец
|
|
|
17
|
320.44.00.005-Б
|
Палец
|
|
|
18
|
320.44.00.006
|
Кольцо
|
|
|
20
|
525.14.00.009
|
Палец
|
|
|
22
|
ТО-18А.01.00.002
|
Шплинт
|
|
|
24
|
М12-6gx30.88.35.0115 ГОСТ 7796-70
|
Болт
|
|
|
25
|
С12.02.Сm3.0115 ГОСТ 6958-78
|
Шайба
|
|
|
26
|
1.2-55x75-1 ГОСТ 8752-79/ ОСТ 38 05146-78
|
Манжета
|
|
|
27
|
1.3.Ц6.xp ГОСТ 19853-74
|
Масленка
|
|
|
28
|
2.3.45.Ц6.хр ГОСТ 19853-74
|
Масленка
|
|
|
29
|
6-16d11x85.45.Ц15хр ГОСТ 9650-80
|
Ось
|
|
|
30
|
4х25.019 ГОСТ 397-79
|
Шплинт
|
|
|
32
|
69363 А43 050-056-4-6
|
Грязесъёмник
|
|
|
33
|
320.44.10.100
|
Коромысло
|
|
|
34
|
320.44.01.001-Б
|
Втулка
|
|
|
35
|
320.44.01.100-Б
|
Стрела
|
|
|
36
|
320.44.01.001-Б
|
Втулка
|
|
|
37
|
320.44.20.100-Б
|
Тяга
|
|
|
38
|
320.44.01.001-Б
|
Втулка
|
|
|
39
|
320.44.35.100
|
Упор
|
|
|
40
|
320.44.35.001
|
Втулка
|
|
|
41
|
320.44.35.002
|
Скоба
|
|
|
42
|
320.44.35.003
|
Втулка
|
|
|
43
|
320.44.35.004
|
Пластина
|
|
|
44
|
М6-6gx20.88.35.0115 ГОСТ 7798-70
|
Болт
|
|
|
45
|
М6-6Н.8.35.0115 ГОСТ 5915-70
|
Гайка
|
|