Оборудование погрузочное

Оборудование погрузочное

oborudovanie_pogruzochnoe_pogruzchik_amkodor_332v_332s_0.jpg

№ поз.

Каталожный номер

Наименование детали

Фото

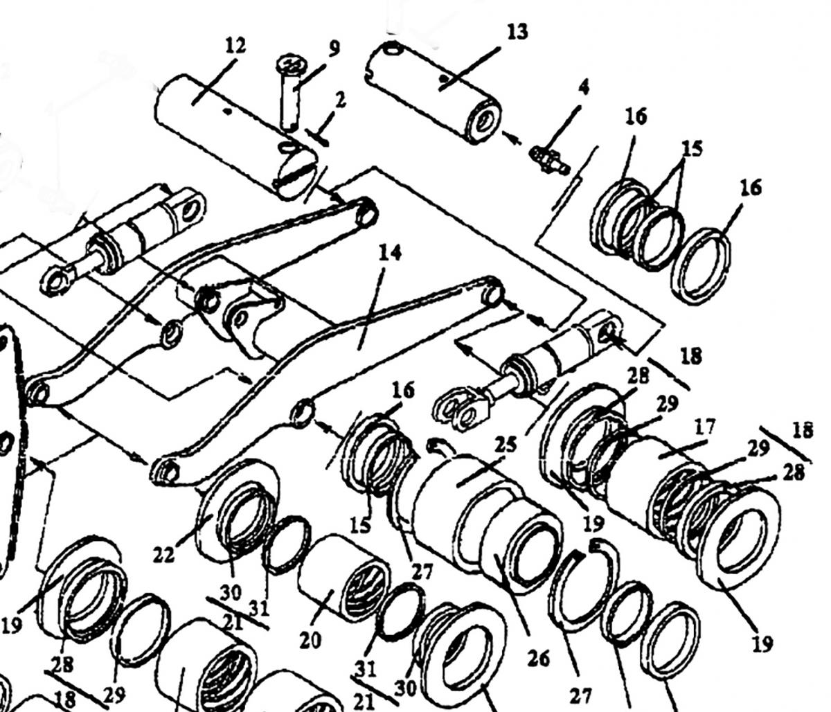
1

6-16х110.45.Ц15хр.9650

Ось

фото

2

4х25.019.397

Шплинт

фото

3

ТО-18Б.14.00.004

Палец

фото

4

1.3.Ц6.19853

Масленка

фото

5

ТО-18Б.14.02.100

Коромысло

фото

6

ТО-18Б.14.00.002

Палец

фото

7

ТО-28.14.00.017

Втулка

фото

8

1.2-100х125-1.8752

Манжета

фото

9

6-16х130.45.Ц15Хр.9650

Ось

фото

10

ТО-18Б.14.00.005

Палец

фото

11

ТО-18Б.14.00.003

Палец

фото

12

ТО-28.14.00.015

Палец

фото

13

ТО-18Б.14.00.006

Палец

фото

14

332С.14.01.100-01

Стрела

фото

15

ТО-18Б.14.00.008

Втулка

фото

16

1.2-65х90-1.8752

Манжета

фото

17

ТО-28.14.05.002

Втулка

фото

18

ТО-28.14.02.200

Уплотнение

фото

19

ТО-18Б.14.00.007-02

Прокладка

фото

20

ТО-28.14.03.001

Втулка

фото

21

ТО-28.14.03.200

Уплотнение

фото

22

ТО-18Б.14.00.007

Прокладка

фото

23

ТО-28.14.02.001

Втулка

фото

24

ТО-18Б.14.03.100

Тяга

фото

25

ТО-18Б.14.01.001

Втулка

фото

26

ШСЛ-60

Подшипник

фото

27

В90.13943

Кольцо

фото

28

ТО-28.14.02.202-01

Каркас

фото

29

ТО-28.14.02.201

Уплотнитель

фото

30

ТО-28.14.02.202

Каркас

фото

31

ТО-28.14.03.201

Уплотнитель

фото

 

Заказ запасных частей по телефонам

  • +375 (29) 6632398 - Климович Дмитрий Георгиевич (директор)
  • +375 (29) 6153394 - Спиридонов Сергей Владимирович (главный инженер)
  • +375 (29) 6630018 - Девятов Владимир Борисович (зам. дир по производству)
  • +375 (29) 6742569 - офис
  • +375 (17) 3578612, +375 (17) 3579713 - Офис