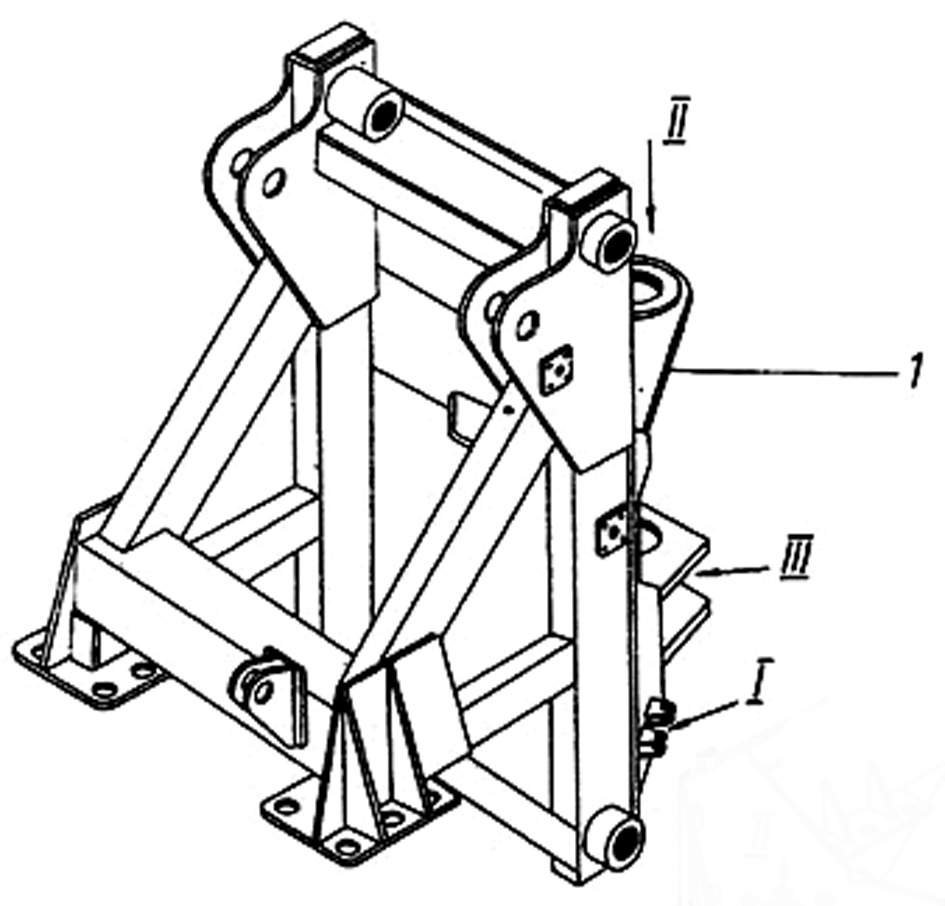
Рамы

№ поз.
|
Каталожный номер
|
Наименование детали
|
Фото
|
1
|
ТО-18А.01.10.000
|
Полурама
|
фото
|
2
|
ТО-18А.01.20.000
|
Полурама
|
фото
|
3
|
ТО-18А.01.00.001
|
Палец
|
фото
|
4
|
ТО-18А.01.00.002
|
Шплинт
|
фото
|
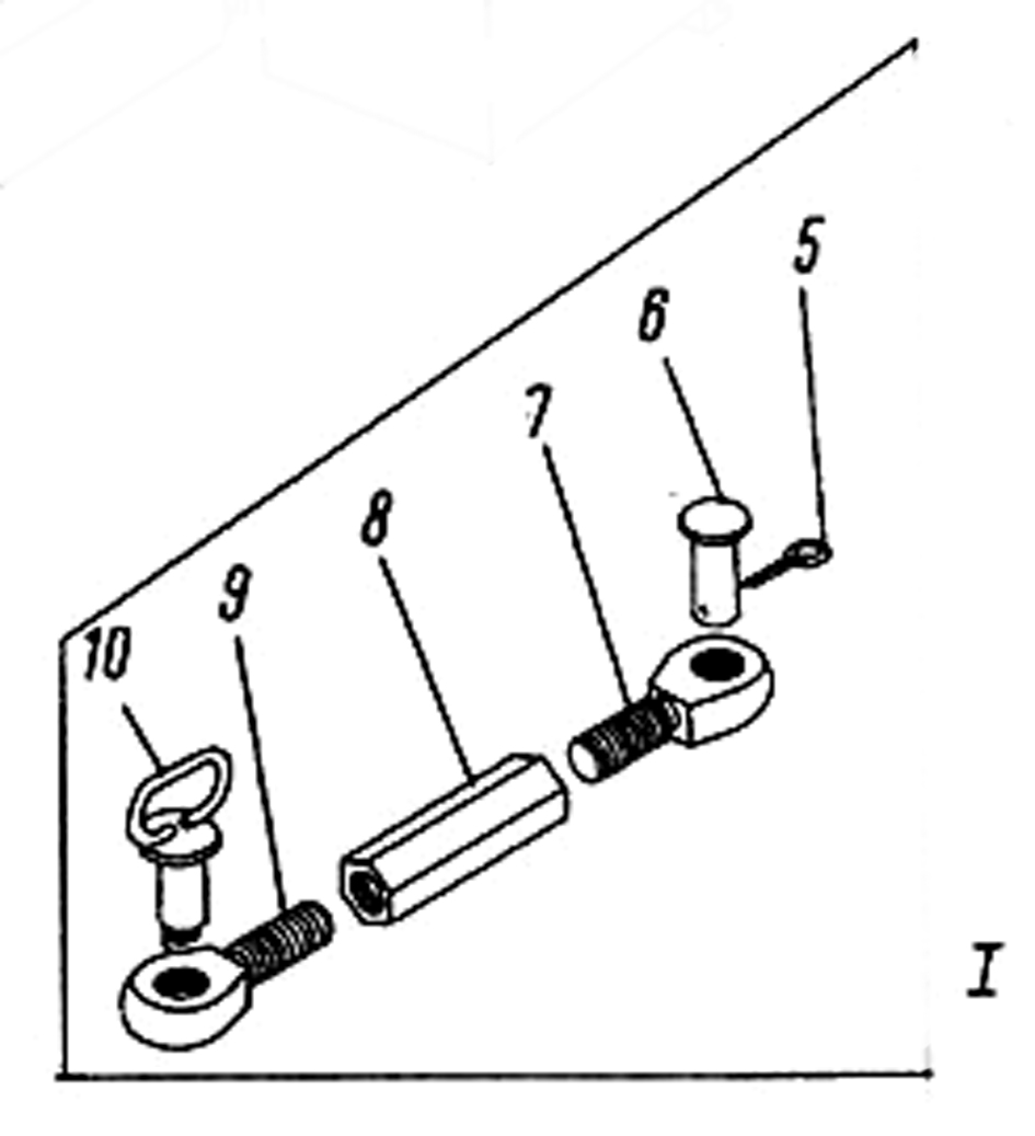
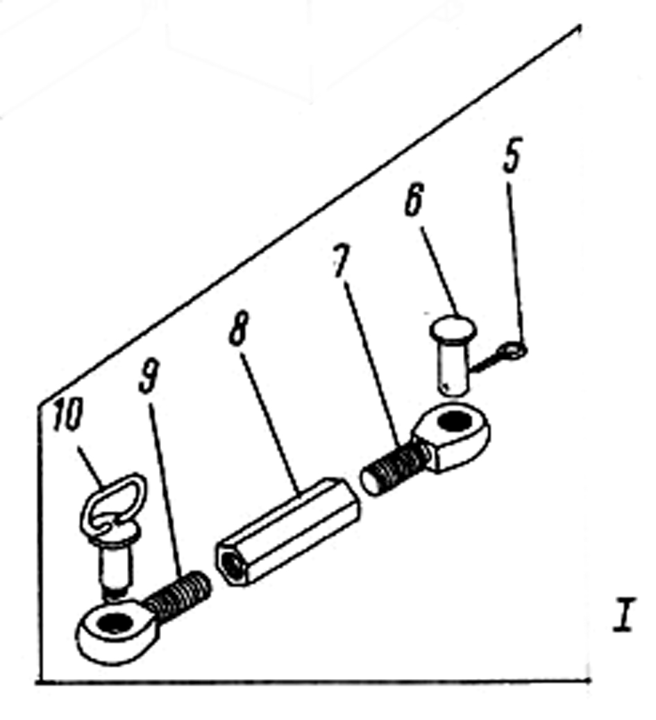
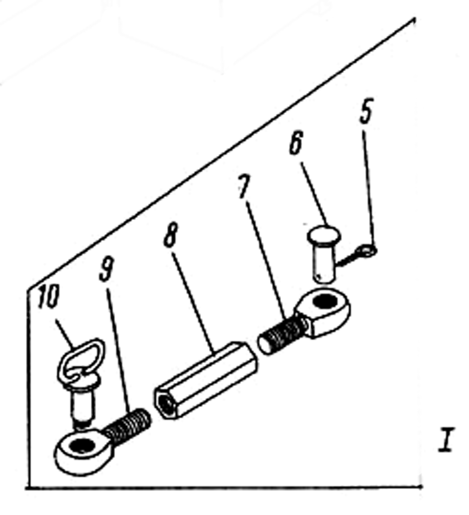
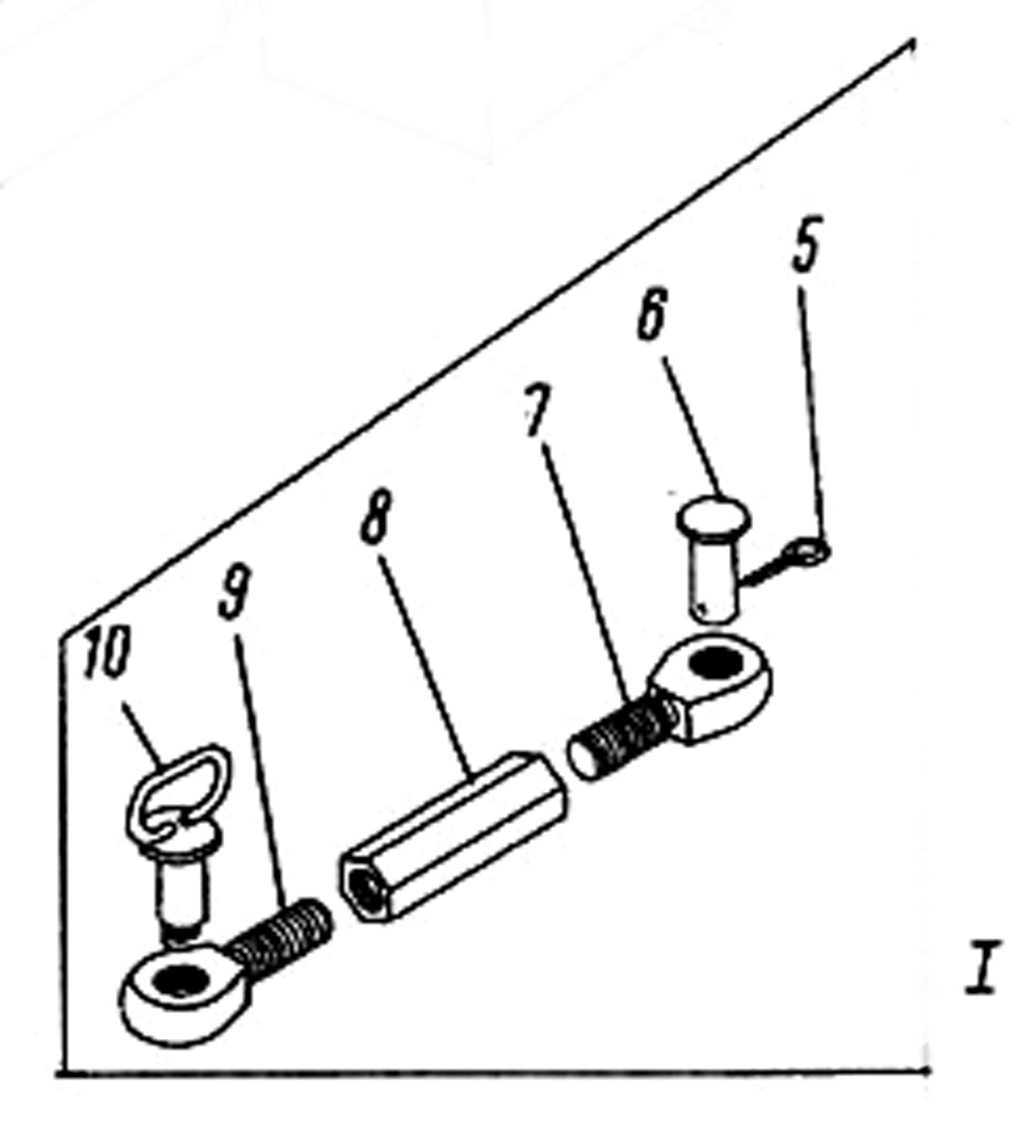
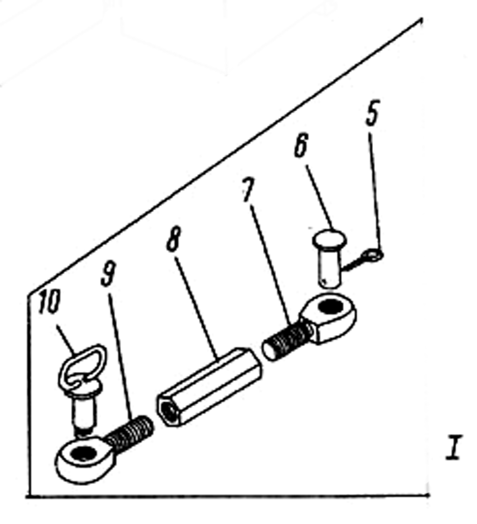
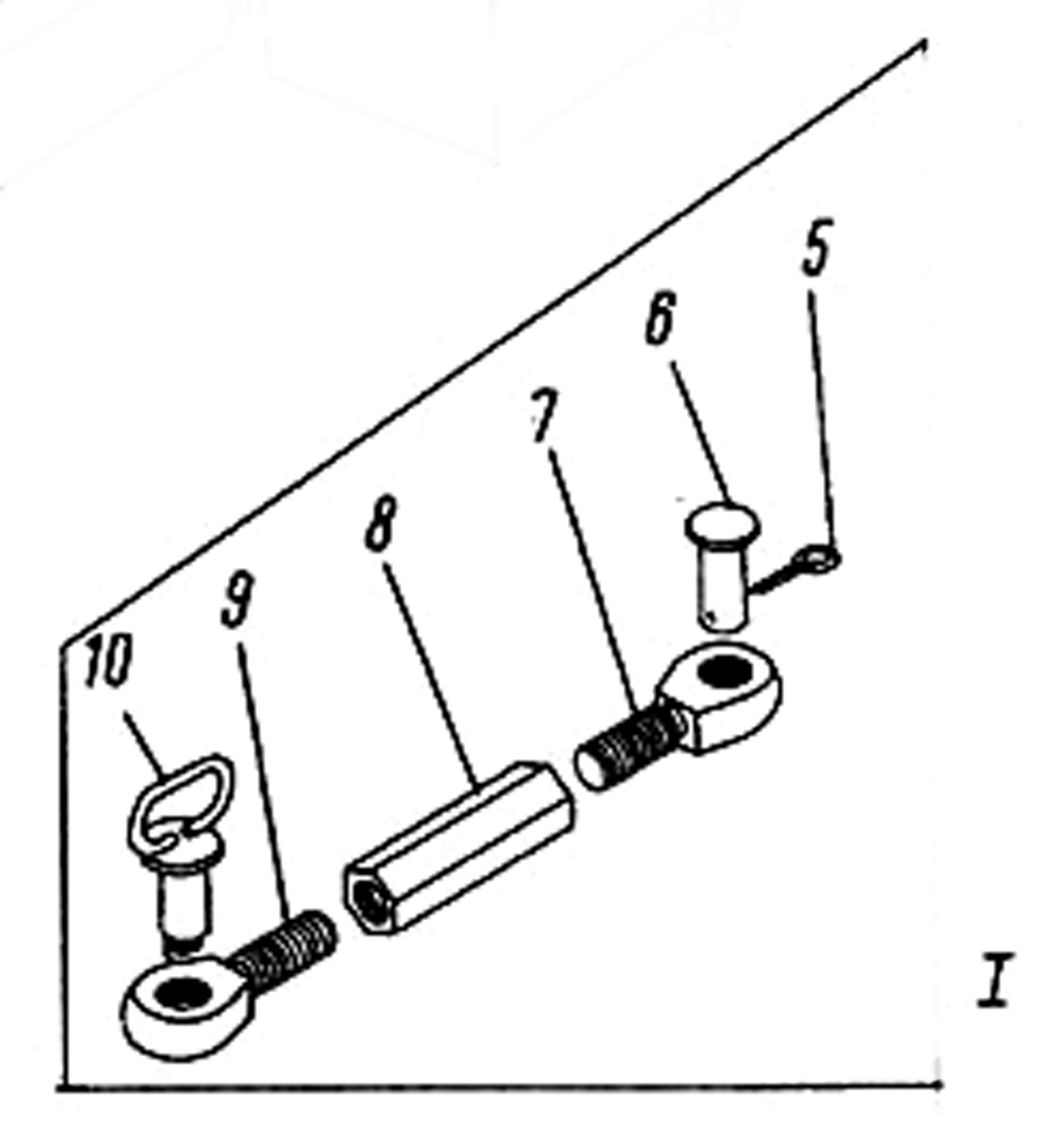
5
|
4х40.397
|
Шплинт
|
фото
|
6
|
6-25х60.9650
|
Ось
|
фото
|
7
|
ТО-18.01.00.012-01
|
Палец
|
фото
|
8
|
ТО-18.01.00.013
|
Втулка
|
фото
|
9
|
ТО-18.01.00.012
|
Палец
|
фото
|
10
|
ТО-18.01.50.000
|
Палец
|
фото
|

№ поз.
|
Каталожный номер
|
Наименование детали
|
Фото
|
1
|
В70.13942
|
Кольцо
|
фото
|
2
|
ТО-18.01.00.018
|
Стакан
|
фото
|
3
|
ТО-18.01.00.007
|
Прокладка
|
фото
|
4
|
ТО-18.01.00.007-01
|
Прокладка
|
фото
|
5
|
ТО-18.01.00.016
|
Стакан
|
фото
|
6
|
ТО-18.01.00.017
|
Палец
|
фото
|
7
|
2.3.45.19853
|
Масленка
|
фото
|
8
|
М20х45.7796
|
Болт
|
фото
|
9
|
20.6402
|
Шайба
|
фото
|
10
|
3М10х30.7796
|
Болт
|
фото
|
11
|
2-С-1.3282
|
Проволока L=200 мм
|
фото
|
12
|
80.060-90
|
Шайба упорная
|
фото
|
13
|
ТО-18.01.00.021
|
Втулка
|
фото
|
14
|
ТО-18.01.00.019
|
Палец
|
фото
|
15
|
12.6402
|
Шайба
|
фото
|
16
|
М12х30.7796
|
Болт
|
фото
|
17
|
2.3.90.19853
|
Масленка
|
фото
|
Заказ запасных частей по телефонам
- +375 (29) 6632398 - Климович Дмитрий Георгиевич (директор)
- +375 (29) 6153394 - Спиридонов Сергей Владимирович (главный инженер)
- +375 (29) 6630018 - Девятов Владимир Борисович (зам. дир по производству)
- +375 (29) 6742569 - офис
- +375 (17) 3578612, +375 (17) 3579713 - Офис